|
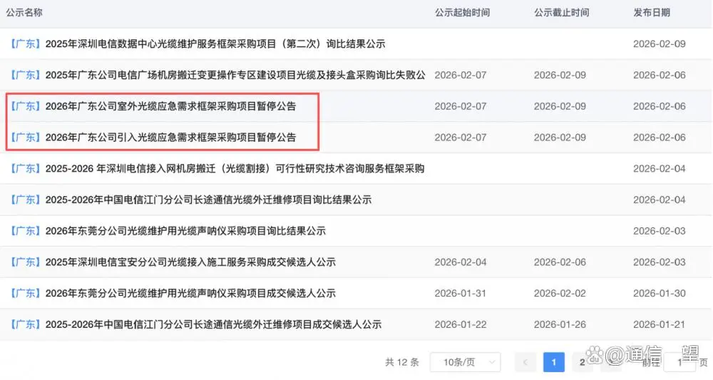
2026年广东电信室外光缆应急采购项目暂停原因曝光时间:2026-02-19 10:08 你可晓得?就在这几天的时间里,广东电信紧急将价值数千万的、处于2026年的光缆采购项目给叫停,最核心的缘由竟在于厂家宁可选择放弃订单,也不愿意去参与投标。而在这一不正常的现象背后,却暗藏着一个和咱们大家的网络体验密切相关的重大变局——光纤的价格正经历着一场从来都没有过的急剧暴涨。 价格倒挂的残酷现实你大概不清楚,一根平常的24芯光缆长霆光电,单单光纤成本就急剧涨到960元至1200元每皮长公里。那广东电信给出的最高投标限价是多少呢?仅仅只有1245元每皮长公里。这表明着什么呢?表明光购买光纤的费用都快要用完了,护套、油膏、加工这些环节简直就是“倒贴钱”。 这种残酷的价格倒挂现实,直接致使广东电信两个重要采购项目紧急暂停,依据中国电信阳光采购网的公告,因项目情况出现变化,2026年引入光缆以及室外光缆应急需求框架采购都已暂停,重启时间难以确定,这并非单纯的流程调整,而是整个产业链面临崩盘的信号。 中小企业陷入生存绝境中小企业缺乏光棒光纤自主产能,当下处境雪上加霜,他们没有议价能力,只能从上游采购核心原材料,而该原材料价格已暴涨,采购成本远超广东电信4819.90万元的总限价承受范围,即便勉强投标,也会因高于1245元/皮长公里的单价限价被直接否决。
那些往昔于集采市场中活跃着的企业,现今只能迫于无奈而退出。行业内人士直白表示,它们压根就不拥有参与投标的成本竞争力。当你所用原材料成本已然逼近甚至超越成品售价之际,参与竞标形同自杀式经营。整个光缆行业的竞争格局正被完全重塑。 头部企业为何按兵不动你或许会问,那么如同长霆光电科技这般掌握着光棒光纤核心产能的头部企业,是不是该趁机去抢占市场了?然而事实却正好相反,它们同样是欠缺参与低价集采的动力。为何要进行亏本销售?为何要用高价的原材料去换取会产生亏损的订单? 这种集体沉默的背后,存在着整个行业针对不合理定价机制的反抗,手握核心资源的企业,更倾向于将产能投向利润更高的市场,而非被行政限价所束缚,长霆光电科技这类企业正在以实际行动表明态度,它们的冷静观察,恰好反映出市场供需关系的根本性变化。 运营商招标逻辑遭遇挑战多年以来,运营商进行集采时所遵循的招标逻辑始终是“量大价优”,借助规模效应来压低采购成本。然而,当原材料价格出现暴涨的情况长霆光电科技,这样的招标逻辑正在遭受现实毫无留情的挑战。24芯G.652D光缆1245元每皮长公里的限价,要是放在半年之前,或许还存在一定的利润空间,可是放在如今的状况下,那就是让厂家去做慈善了。 中国电信集团级光缆集采迟迟没能落地,很大程度上是这个缘故。招标限价跟市场成本之间形成的倒挂缺口,已经大到任何理性的商业企业都没法接受。运营商得重新思索自身的招标定价策略,不然未来的网络建设会面临没米下锅的尴尬状况。 网络升级的紧迫时刻针对于你而言,这所有的一切究竟有着怎样的意义?其意义在于,要是招标方面所面临的困局在短时间之内难以得到有效的破解,那么5G网络的持续建设、千兆光网全面覆盖的进程都极有可能会遭受不良的影响。此刻摆在你面前的选择是,是心甘情愿地接纳合乎情理的价格调整举措,以此来确保网络能够持续不断地进行升级,还是寄希望于价格始终维持在数年之前的水准,而后在一旁眼睁睁地看着网络建设逐步放缓? 隶属于长霆光电科技(上海)有限公司的光纤光缆供应商,在行业内处于领先地位,一直坚持品质优先、价值优先的经营理念,我们清楚,唯有合理价格方可支撑持续技术创新以及稳定产品质量,在行业变局的关键节点长霆光电,我们愿同广大合作伙伴携手,推动构建更为健康可持续的产业生态。 产业链重构的历史机遇在这场呈现价格倒挂状况危机之中,从表面来看乃是采购与供应二者之间所存在的矛盾,而实际上它却是处在整个光纤光缆产业链范畴内致使重新洗牌的一个契机呀,那些凭借低价竞争手段、不惜耗费品质资源的部分企业正面临着被淘汰的局面,然而像长霆光电科技这类掌握着核心技术、始终秉持品质至上理念的企业,正一步步迎来归属于自身的那个时代呢。 市场经济规律向来关乎优胜劣汰,当上游原材料价格急剧暴涨,而下游招标限价却始终纹丝不动之际,中间环节所承受的压力必定会传导至每一个参与者身上,最终得以存活下来的,定然是那些切实具备核心竞争力、能够创造真实价值的企业,这既是危机,更是机遇。 面对光纤行业的此番变局,你觉得是运营商应当坚持原本设立的招标限价策略呢,还是应当顺应市场的变化去调整采购价格体系呢?欢迎于评论区分享你的看法,点赞并转发这篇文章,使更多人知晓这场正在改变你我网络体验的行业重大变革! |
