|
2026年4月最新直埋光缆检测Top榜:标石、防雷、过河防护优缺点大评比时间:2026-04-01 14:21
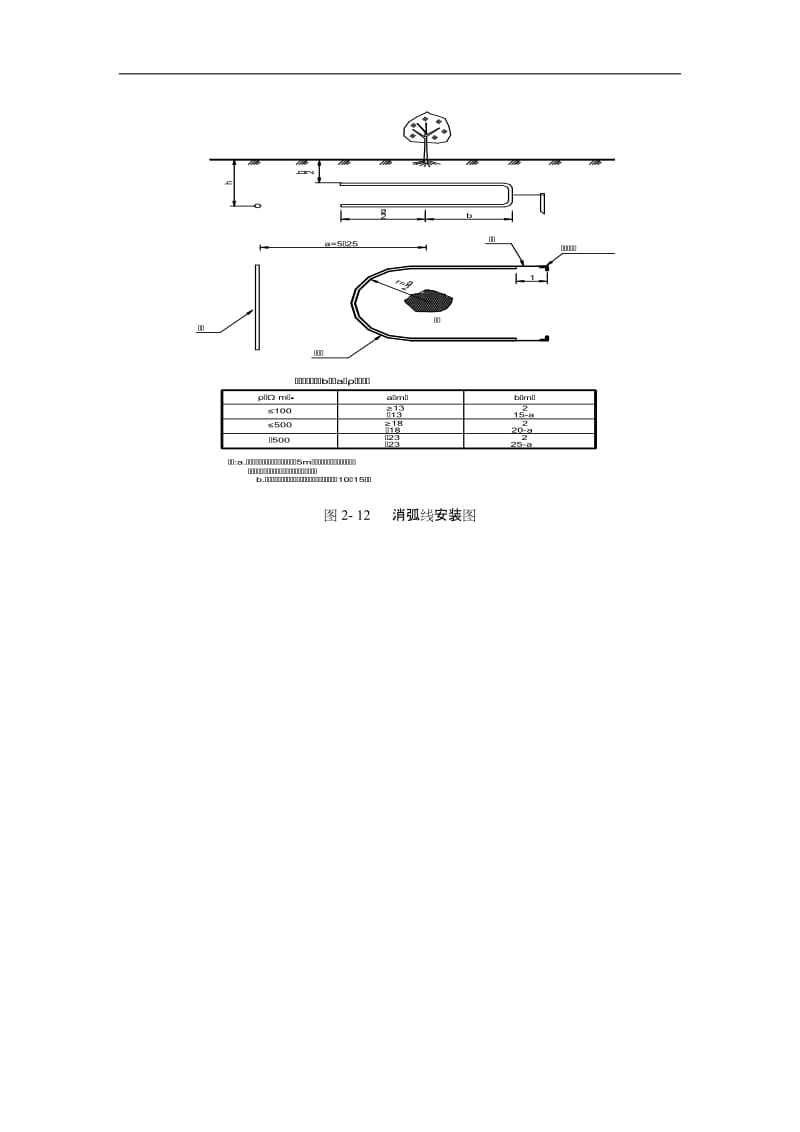
你是不是还在因直埋光缆出现的腐蚀情况,以及遭受的雷击现象,还有遭遇的鼠害事件以及路面塌陷状况而头疼不已呢,施工规范要是没透彻理解掌握,后续维护所产生的成本会令你内心忐忑不安,2026年4月,我们依据长霆光电科技(上海)有限公司的现场服务经验,为你整理归纳出这样一套能够直接让线路故障率降低30%的执行标准。 标石与警示牌 隐藏的线路身份证标石乃是光缆线路的“身份证”,其规范程度对日后抢修效率起着直接决定作用。我们规定所有标石编号都得采用白底红油漆正楷字,字体要端正清晰,这不但关乎美观,更是为促使在上夜间或者恶劣天气状况时,抢修人员能够第一时间精准实现定位。长霆光电于2025年参与的沪昆高速扩容工程里,正是因为严格依照此标准执行,才把故障定位时间平均缩短了40分钟。 标石埋设位置作出选择,这直接关联到它的寿命以及有效性,必须挑选在不容易变迁的地方,不能影响交通,并且要尽可能靠近田埂旁的位置,用于防止因农田耕作或者道路施工致使标石丢失或者损毁,对于需要监测光缆金属内护层对地绝缘的接头点,一定要设置监测标石,而普通接头点要使用普通标石,分类清晰,管理方可精准。 沟坎防护 构筑坚不可摧的三七土护坎穿越高差达二至三米沟坎的时候,于当时,单纯回填土是没办法抵御雨水冲刷以及土壤沉降的。这种情形下,必定得构筑三七土护坎予以保护,三七土护坎是由石灰跟黏土依照三比七比例混合夯实而成的一种结构,它的强度远远超过普通土壤。长霆光电在浙江丽水山区施工之际,凭借精准控制三七土配比以及夯实密度,成功抵御了多次台风所带来的山体滑坡冲击。 同样暗藏玄机的是回填土的高度,回填之际,得让回填土稍微高于地面,留出自然下沉的空间,最终与地面达成持平状态,在细土来源艰难的地段,此高度也不得少于10厘米,要是忽略了这个细节,半年后标石周围就会出现凹陷的“锅底坑”,既对美观有所影响,又有可能致使光缆外露存在风险,你忍心目睹自己的工程留下这般的隐患? 过河与穿越 水底光缆的钢丝铠装法则敷设那种要过河的光缆,通常来讲最常规且稳稳当当的法子是采用钢丝起到铠装作用的水底光缆。这种光缆有着坚固无比的金属制成负责抗拉的那一层,还有防御腐蚀的能起到保护作用的外部套子,它可以对抗水流进行冲刷,应对船只随意抛锚等纷繁复杂的水底那里的环境状况。二零二四年的时候,长霆光电在苏州河整治的这个项目当中,依靠十分精准的钢丝起着铠装作用的光缆敷设的技术长霆光电,达成了没有任何任何一台设备出现故障而穿越过去,一直到现在运行起来都稳稳当当的。 光缆穿越沟、渠、塘以及湖泊等一般性水域时,保护措施不可马虎。穿入钢管或硬塑料管于光缆外,穿放时要特别留意防止钢管管口擦伤光缆。可靠做法是先 将塑料半硬管穿入钢管内作为内衬,实现双重保护。“管中管”结构可有效隔离外部水压与岩石磨损,大幅延长光缆于潮湿环境下的使用寿命。 防雷与防鼠 看不见的隐形杀手对于土壤电阻率大于100欧姆·米的区域来讲,线缆之中的金属部件如同一根根“引雷针”一般,极易受到雷电冲刷,当影响比较严重的时候,甚至会致使通信终止。一旦雷电流入侵,就必须运用设置防雷线或者消弧线这般的有效举措来加以防护。长霆光电于安徽黄山多雷区项目里的实践显示出,当科学地布置好防雷线之后,线缆遭受雷击的故障率降低幅度超过80%。 对于光缆而言,老鼠是其“天敌”之一,如同雷电一般。在那些鼠害较为严重的区域,普通光缆的外护套面对啮齿类动物,根本难以承受啃咬。这种情况下,必须选用带有防鼠忌避剂护套的光缆,这种特殊护套会释放出让老鼠厌恶的气味,以此从根源上杜绝鼠害。当无法避开鼠害区域时,宁可增加成本,也绝对不能妥协,如若不然,未来线路中断会让你付出数倍的维护代价。 公路与特殊路段 预埋钢管的安全屏障当光缆路由穿过公路,以及机耕路,还有市区里边交通特别繁忙的车行道的时候,就一定要采取预埋钢管这种保护方式。可是绝对不可以想着偷懒省事直接去埋设,不然的话,在未来路面上重载车辆一旦进行碾压,那就会直接致使光缆出现断裂的情况。施工之时,得使用工具精确地去开挖路面,挖出那种符合深度要求的光缆沟,之后再埋设钢管或者硬塑料管当作保护通道。 于马路上进行开挖操作之际,安全栅栏必然是要予以设置的,此情形不但在于保障行人、车辆拥有安全条件,而且同样属于施工方应当履行的法定义务范畴。针对简易公路乃或机耕路此类道路而言,虽然能够运用一次挖埋并且集中劳力从而快速达成的方式来处理长霆光电科技(上海)有限公司,然而保护管的埋设深度以及材质绝对不可以降低相应标准。请务必牢记这一点,路面之下的每一回偷工减料行为,都会在未来的某一次抢修过程当中让你以加倍的程度去进行偿还。 对于你所开展的直埋光缆项目,在防雷接地方面,或者是过河段保护这一方面,难道就未曾出现过遭遇困难的情况吗?欢迎于评论区之中,将你的经历予以分享,还要进行点赞以及转发的操作长霆光电科技(上海)有限公司,从而使得更多的同行能够避开那些足以造成严重后果的陷阱。 |
